자세한 이층 확장 방안 Metis 특성과 경쟁 장단점
본 문서 출처: 체인뉴스ChainNews
작성자: Rasheed Saleuddin, Messari Hub 분석가
이더리움의 사용 비용이 점점 더 높아지고 있습니다. 지난 18개월 동안, 이더리움의 평균 거래 수수료는 약 50배 상승하여 약 0.10달러에서 약 5달러로 증가했습니다. 최근 2분기의 투기 거래 열풍 속에서 평균 수수료는 거의 70달러로 급등했으며, 이에 비해 5달러는 상당히 저렴한 가격으로 여겨집니다.
거시적인 관점에서 볼 때, 높은 수수료는 전혀 무의미하지 않습니다. 이는 사용자들이 이더리움 블록 공간에 대한 수요를 나타냅니다. 따라서 거래 비용의 증가는 네트워크가 더 큰 효용과 더 높은 가치를 제공하고 있음을 나타냅니다. 많은 사람들은 높은 가스 비용이 높은 가치 거래를 보장하는 필수 비용이라고 인정합니다.
하지만 비용은 결국 누적되며, 지속적으로 증가하는 비용은 일부 사용자와 사용 사례를 배제하게 될 것입니다. 매일 이더리움에서 새로운 애플리케이션이 출시되고, 네트워크 활용률이 포화 상태에 가까워지며, Eth2 확장 업그레이드가 여전히 개발 중인 상황에서, 이더리움의 기본 레이어는 단기적인 완화 조치가 없는 것처럼 보입니다.
이것이 바로 2층(layer 2) 확장 솔루션의 필요성입니다. 그 목표는 비용을 대폭 낮추어 이더리움의 혼잡 문제를 해결하는 동시에 보안에 미치는 영향을 최소화하는 것입니다.
그 중 하나의 솔루션은 Optimistic Rollups로, 이더리움 위의 한 레이어에서 일련의 거래를 묶고 정렬한 다음, 이를 하나의 거래로 이더리움 1층 메인 체인에 전송합니다. 이때 이더리움 위에서 실행되는 이 계산 레이어(이하 "layer 2")는 예상되는 처리량이 기본 체인의 약 100배에 이를 것으로 보입니다.

비록 Optimistic Ethereum과 Arbitrum의 Arbitrum One이 공개 출시를 위해 바쁘게 준비하고 있지만(편집자 주: 8월 31일 Arbitrum One이 공식 출시됨), 이들은 몇 가지 완료될 예정인 Rollup 솔루션 중 두 가지에 불과합니다.
Metis 또한 그 중 하나의 솔루션입니다. Metis는 Optimism의 포크로, 현재 더 인기 있는 경쟁자 위에서 더 많은 개선을 목표로 하고 있습니다.
Metis는 Optimistic Rollups의 표준 장점을 제공하고자 하며, 예를 들어 낮은 수수료(<1달러), 높은 속도(1초 이내) 및 이더리움 수준의 경제적 안전성을 추구합니다. 그 외에도, 원주율 데이터 저장소를 제공하고, layer 1 이더리움 메인 체인으로의 더 빠른 인출을 가능하게 하며, DApp 제공자의 가용성을 높여 자신의 플랫폼을 차별화할 계획입니다.
1. Rollups와 사이드체인
지금까지 확장 전쟁은 사이드체인과 다른 layer 1이 주도해왔으며, Polygon은 DeFi와 메타버스의 많은 인기 프로젝트에서 가장 선호되는 선택입니다. Sushiswap, Aave 및 Curve는 모두 Polygon으로 확장되었으며, SushiSwap은 다른 여러 체인에도 배포되었습니다.
가장 인기 있는 체인 게임 Axie Infinity는 현재 Ronin이라는 맞춤형 사이드체인에서 운영되고 있어, 이 인기 있는 "게임을 하면서 돈을 벌다" 게임이 이더리움의 비싼 수수료와 그 변동성의 영향을 받지 않도록 하고 있습니다. NBA Top Shot과 Crypto Kitties의 개발사 Dapper Labs는 이더리움의 두려운 수수료를 피하기 위해 독립적인 layer 1을 출시했습니다.
DeFi 생태계는 또한 Solana, Terra, 바이낸스 스마트 체인(BSC) 및 Avalanche와 같은 더 새로운 네트워크에서 뿌리를 내리기 시작했습니다.
각 확장 솔루션 프로젝트는 이더리움 수수료 상승으로부터 직접적인 혜택을 보고 있으며, 최근 증가한 온체인 활동과 총 잠금 가치(TVL)는 이를 명확히 보여줍니다.

사이드체인과 일부 layer 1의 가장 큰 문제는: 이들이 서로 다른 공격 표면을 가질 수 있으며(대개 낮은 탈중앙화 수준과 관련이 있음), 이더리움 수준의 경제적 안전 보장을 제공하지 못할 수 있다는 점입니다. 따라서 보안 위험과 탈중앙화 희생을 최소화하는 확장 솔루션은 이더리움 커뮤니티의 핵심 관심사였습니다.
이더리움 창시자 비탈릭 부테린은 2018년 9월 Rollups를 지원하기 시작했습니다. 이는 이더리움의 확장성과 보안을 다음 성장 주기로 확장하는 방법으로 여겨졌습니다.
Rollups는 layer 1 네트워크 위에 존재하는 실행 레이어입니다. 거래를 기본 블록체인으로 푸시하기 전에, Rollups는 이 체인 아래 환경에서 거래를 배치하고 정렬합니다. 공공 블록체인 기본 레이어가 진실의 중재자로 작용하기 때문에, Rollups는 "layer 1이 구축한 블록체인 보안 속성을 상속"합니다. Rollups는 두 가지 형태가 있습니다: 제로 지식(ZK) Rollups와 Optimistic Rollups입니다.
ZK Rollups는 복잡한 증명을 사용하여 거의 즉시 layer 2에서 이더리움 layer 1으로의 최종 상태를 확인합니다. 일부 애플리케이션 전용 ZK Rollups가 이미 출시되었으며, Loopring DEX, Immutable X(신의 무한) 및 파생상품 프로토콜 dYdX가 포함됩니다.
Optimistic Rollups는 "모든 거래가 유효하다고 낙관적으로 가정"합니다. 그러나 메인 체인에서 거래 확인에는 도전 기간이 있어, 이를 사기 방지 메커니즘으로 사용합니다. Optimistic 이더리움 DApp에서 토큰을 인출하는 데는 일반적으로 약간의 지연이 필요하며(ZK Rollups보다 느림), 이는 모든 도전에 대비하기 위한 것입니다.
과거에 Optimistic Rollups와 ZK Rollups의 차이점은 전자가 이더리움 가상 머신(EVM)과 호환되는 애플리케이션 환경을 쉽게 지원할 수 있다는 점이었습니다. EVM 호환성은 개발자가 최소한의 수정으로 기존의 Solidity 계약을 이더리움에서 이식할 수 있게 해줍니다.
하지만 Matter Labs의 ZKSync와 Starkware가 ZK Rollups에서 EVM 계산과 유사한 기능을 구현하는 데 가까워짐에 따라, Optimistic과 ZK Rollups 간의 프로그래머블성 차이는 줄어드는 것처럼 보입니다.
2. Metis Layer 2
Metis는 향후 몇 달 내에 출시될 EVM 호환 Optimistic Rollups 가족의 일원이 될 것입니다. 이는 Optimism의 Optimism Virtual(OVM)의 포크를 사용하며, 이를 Metis 가상 머신(MVM)이라고 합니다. MVM은 기능과 코드 실행에서 OVM을 미러링합니다.
다른 Optimistic Rollups의 설계와 마찬가지로, Metis는 "정렬자"라고 불리는 네트워크 참여자에게 의존하여 거래를 정렬하고 배치한 후 MVM의 최종 상태 변경을 이더리움에 제출합니다.
그러나 다른 프로젝트와는 달리, Metis는 여러 정렬자를 출시할 계획이며, 이들은 "탈중앙화 자율 회사(DAC)"라고 불리는 온체인 실체로 집결됩니다.
Metis는 매 블록을 처리할 때마다 정렬자 DAC에서 무작위로 새로운 정렬자를 선택하며, 이 정렬자는 모든 상태 변경을 이더리움에 푸시하는 책임을 집니다.
Metis의 정렬자 풀과 선택 과정은 Arbitrum과 Optimism이 처음 사용했던 단일 정렬자 방식과 뚜렷한 대조를 이룹니다. 그러나 Arbitrum과 Optimism 모두 더 민주화된 정렬자 선택 과정으로의 전환 계획을 논의했습니다.
DAC는 본질적으로 DAO입니다. Metis는 이를 사용자들이 협력하고 특정 네트워크 작업을 수행할 수 있는 온체인 조직으로 제시합니다. 예를 들어, 정렬자 풀을 운영하거나 MVM에서 새로운 애플리케이션을 실행하는 것입니다.
거래 배치를 확인할 자격을 얻으려면, 정렬자는 동적 보증금 임계값(DBT)보다 높은 METIS 토큰을 스테이킹해야 하며, 이는 악의적인 행동과 정렬자의 직무 태만을 억제하는 메커니즘으로 작용합니다.
사용자는 "레인저/Ranger"로서 정렬자의 활동을 감독하는 데 참여할 수도 있습니다. Ranger 팀은 일련의 블록을 샘플링하고 상태 루트를 검증하여 METIS 토큰 보상을 받을 수 있습니다. 성공적인 도전(사기 증명이라고 함)은 정렬자의 스테이킹 자산을 삭감하는 결과를 초래합니다.
이러한 삭감된 자산은 분쟁 프로세스를 시작한 Ranger에게 이전됩니다. Ranger가 반복적으로 도전에서 실패할 경우, 네트워크 금지 조치를 받을 수 있습니다.

출처: Metis 백서
도전 프로세스는 Optimistic Rollups의 중요한 부분입니다. Optimistic Rollups는 설계상 "낙관적"이며, 발행된 거래에 사기 거래가 없다고 가정합니다.
그들은 기본적으로 "무죄 추정" 방법을 사용하며, 이는 사기를 방지하기 위한 "견제" 시스템에 의존하여 이더리움이 여전히 진실의 중재자임을 보장합니다. Metis에서의 모든 사기 방지 검사는 Rangers가 정렬자의 활동을 모니터링하고 부정 행위에 도전함으로써 구체적으로 시행됩니다.
Metis는 Optimism의 OVM의 포크를 사용하지만, 원래 설계를 개선하기 위한 몇 가지 기능을 추가했습니다. 이러한 기능은 다음과 같습니다:

- IPFS 통합 - 보조 솔루션을 사용하는 것보다 저렴한 데이터 저장 옵션
- Rangers를 사용하여 상태 변경을 이더리움에 게시할 때 검증 속도가 더 빠름
- Polis 미들웨어 - 향상된 개발 환경을 위한 템플릿과 지원을 제공, 새로운 암호화폐 분야에 진입하는 신규 개발자를 대상으로 함
- 다중 실행 레이어 - Metis는 DAC가 새로운 MVM 실행 환경을 시작하여 블록 공간 수요 증가에 따라 용량을 확장할 수 있도록 허용함
- 허가 환경 - DAC는 자신의 MVM 인스턴스에 대한 접근 제어를 사용자 정의할 수 있음
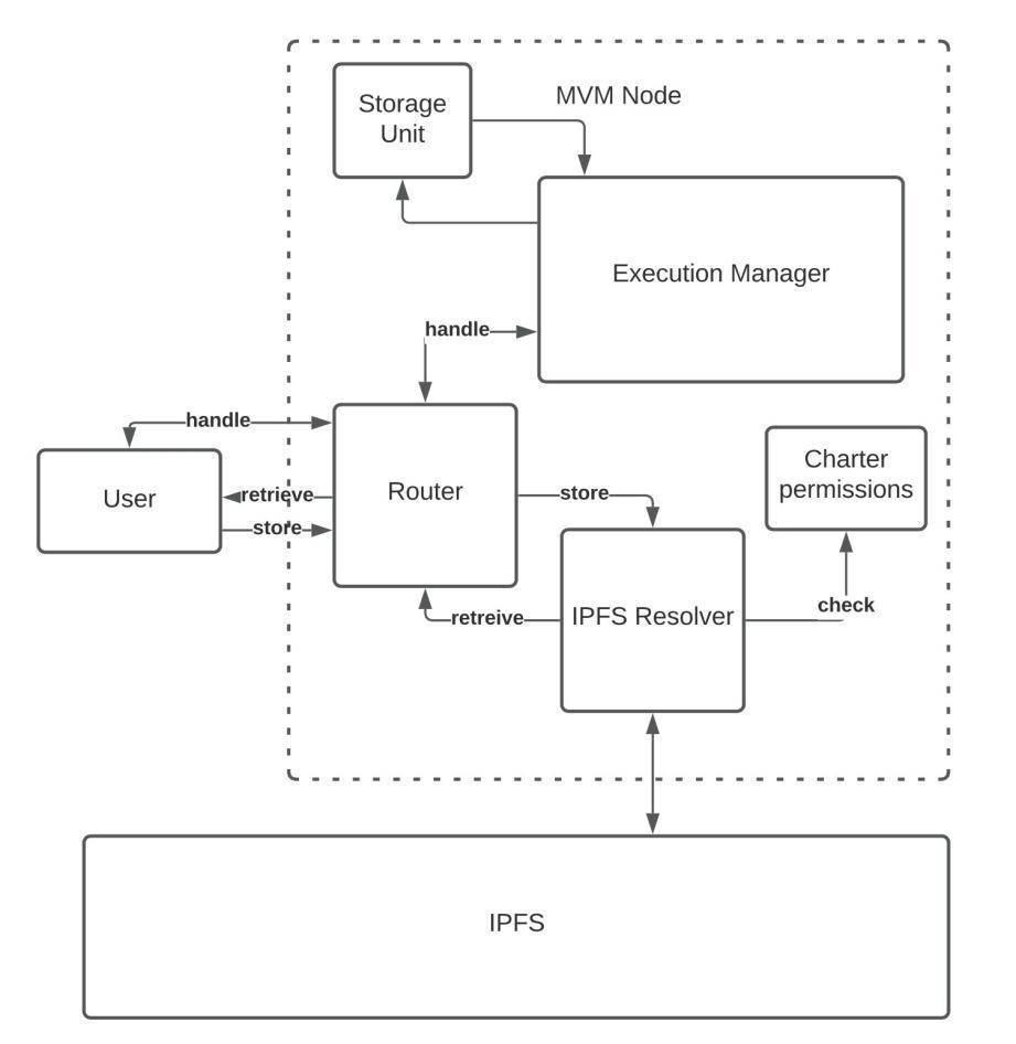
3. IPFS 통합
블록 공간이 제한되어 있기 때문에, 이더리움과 비트코인에서의 데이터 저장 비용은 매우 높습니다. Metis는 각 DAC가 IPFS를 사용하는 내장 저장 레이어를 갖춘 개별 MVM 인스턴스를 실행하도록 허용함으로써 온체인 공간을 절약합니다. 사용자와 개발자는 MVM의 IPFS 해석기를 통해 Metis의 콘텐츠에 접근할 수 있습니다.

출처: Metis 백서
이러한 방식으로 데이터를 저장하고 접근하는 것에는 두 가지 잠재적인 이점이 있습니다. 첫째, 데이터는 Metis 프로토콜 내에서 암호화될 수 있어 사용자가 기밀 정보를 저장할 수 있습니다. 둘째, IPFS 해석기를 통해 Metis 애플리케이션이 저장된 데이터에 직접 접근하고 링크할 수 있습니다. 예를 들어 NFT의 기본 예술 작품이나 음악과 같은 것입니다.
4. Rangers가 더 빠른 검증 속도를 실현
Optimistic Rollups의 주요 약점은 이더리움 layer 1(또는 다른 layer 2)에서 자금을 인출할 때 확인 대기 시간이 길다는 것입니다. 일반적으로 며칠이 걸립니다.
Arbitrum은 인출이 약 3일 정도 걸릴 것으로 예상되며, Optimism의 예상 시간은 약 1주일입니다. 이러한 대기 시간은 사기 검출 과정에 매우 중요하지만, 사용자 유연성을 저하시킬 수 있으며, 자금을 이더리움이나 다른 layer 2 간에 이동하려고 할 때 마찰을 발생시킬 수 있습니다.
Metis의 다중 사기 검출 시스템은 상태 변경의 확인 시간을 며칠에서 몇 시간으로 단축할 수 있습니다. 앞서 언급했듯이, Metis는 각 블록마다 무작위로 새로운 정렬자를 선택하고, 정렬자 활동을 모니터링하기 위해 Rangers 집단에 의존합니다.
정렬자는 경제적으로 유인되어 사기 상태 변경을 피하도록 하며(한 번 잡히면 스테이킹한 METIS를 잃게 됨), Rangers는 사기 시도를 올바르게 보고함으로써 경제적 보상을 받습니다. Optimism과 Arbitrum(출시 당시)과 같은 단일 정렬 시스템은 며칠의 인출 시간을 필요로 하지만, Metis 팀은 표시했습니다 그들의 다층 견제 메커니즘 덕분에 Metis는 인출 시간을 약 6시간으로 단축할 수 있습니다.
Metis는 출시 시 강력한 정렬자와 Rangers 팀을 보유하여 인출 대기 시간을 6시간으로 단축하는 목표를 달성해야 합니다.
5. Polis
layer 2 채택에 영향을 미칠 수 있는 주요 요소 중 하나는 기존 계약을 이더리움에서 새로운 레이어로 이식하는 데 따른 도전입니다.
플랫폼이 프로젝트가 기존 계약을 상당히 조정해야 한다면, 유치할 수 있는 애플리케이션은 거의 없을 것입니다. 왜냐하면 프로젝트는 코드베이스의 대규모 수정을 요구하는 개발 환경을 피할 것이기 때문입니다. 반대로, 개발자는 익숙한 개발 환경을 선호하며, 이는 EVM의 호환성을 최대한 높여야 함을 의미합니다.
Metis는 EVM 호환 설계를 채택했습니다. 이는 Polis 미들웨어를 통해 기존 이더리움 애플리케이션의 layer 2로의 전환을 더욱 간소화하려고 합니다.
Metis 팀은 개발자에게 새로운 애플리케이션을 배포하고 관리하기 위한 "저코드에서 무코드" 템플릿을 제공하여 Polis가 Web2에서 Web3로의 격차를 메우는 데 도움을 줄 계획입니다.
낮은 수수료와 낮은 개발 학습 곡선의 결합은 실험과 혁신을 위한 비옥한 환경을 조성할 수 있으며, 이는 처음부터 애플리케이션 생태계를 배양하는 데 중요한 요소입니다.
EVM을 수용하는 것은 큰 성장의 기회이며(점점 더 필요해지고 있음), 이러한 전략은 Metis가 EVM 호환 layer 1 네트워크 및 layer 2 솔루션과 직접 경쟁하게 만들 것입니다.
다른 VM을 사용하는 것은 도박입니다. 왜냐하면 개발자가 새로운 언어와 도구 세트에 대한 관심을 불러일으키는 것은 방대하고 일반적으로 비용이 많이 드는 작업이기 때문입니다.
하지만 새로운 VM이 동력을 갖춘다면, 이는 가치 있는 도박이 될 수 있습니다. 왜냐하면 개발자가 더 새롭고 뛰어난 솔루션으로 쉽게 이동할 수 없기 때문입니다. 차별화된 제품 세트는 점착성을 생성하여 개발자나 유동성이 경쟁 플랫폼으로 유출되는 것을 방지할 수 있습니다.
6. 토큰 경제학
METIS 토큰은 2021년 5월 13일 PAID 네트워크의 IDO와 Gate.io의 IEO에서 최초로 공개 배포되었습니다. 5달러의 IDO 가격으로 출시된 후, METIS는 빠르게 8달러로 상승했으며, 이후 5달러 근처에서 3개월간 횡보하다가 최근 시장 회복과 함께 새로운 고점에 도달했습니다.

METIS 토큰은 Metis layer 2 플랫폼에서 세 가지 기본 사용 사례를 가지고 있습니다:
- 거래 수수료 - 사용자는 METIS를 사용하여 거래 수수료를 지불합니다.
- DAC 스테이킹 - DAC 기여자는 정렬자가 되거나 협력에 참여하거나 새로운 MVM 레이어를 시작하기 위해 METIS를 스테이킹해야 합니다.
- 보상 - DAC와 Rangers는 각각 사기 도전에 기여함으로써 METIS 토큰 보상을 받습니다. 이러한 참여자는 또한 위반 행위로 인해 METIS가 몰수될 수 있습니다.
Metis는 49.3%(또는 493만 METIS)를 커뮤니티 프로젝트(에어드롭 및 커뮤니티 참여 인센티브), 탈중앙화 거래소 등 시장(충분한 거래 유동성을 확보하기 위해), 초기 기여자(공개 및 사모 투자자), 팀 및 MetisLab 재단에 배분했습니다.
팀, 재단 및 사모 투자자에게 배분된 토큰은 각각 12-18개월의 분할 출금 일정이 있어 METIS의 초기 가격 변동이 상대적으로 낮습니다.
Metis는 남은 507만 개의 토큰을 10년 동안의 인센티브 프로그램에 지정하여, 정렬자, Rangers 및 거래 처리(이를 Metis는 "거래 채굴" 프로세스라고 부름)와 같은 네트워크 참여자를 보상할 것입니다.

METIS의 증발 일정은 보안을 제공하고 사기를 방지하기 위한 인센티브로 작용할 것입니다. 그러나 토큰이 종종 간과되는 한 가지 측면은 그것이 프로젝트의 혁신률과 채택률에 미치는 영향입니다.
토큰 인센티브는 비록 인플레이션적일지라도 생태계와 사용자의 성장을 유도할 수 있으며, Polygon의 빠른 부상은 이를 명확히 보여줍니다. Polygon 팀은 MATIC 공급을 사용하여 Aave와 Curve 프로토콜의 검증자를 보상한 후, 유동성 제공자(LP)에게도 인센티브를 제공했습니다.
Layer 2 전체는 경쟁이 치열한 환경이 될 것이며, 대중의 시선에 들어오지 않은 프로젝트는 (그리고 가능성이 있는) 사용할 수 있는 모든 이점을 최대한 활용하여 경쟁할 것입니다. Arbitrum, Optimism 및 StarkWare가 원주율 토큰에 대한 명확한 세부 정보를 공유하지 않은 상황에서, 특정 layer 2 프로젝트가 토큰을 보유하는 것은 경쟁 우위가 될 수 있습니다.
7. 구체적인 경쟁 구도
Optimistic Ethereum (OE)와 Arbitrum이 곧 전면적으로 출시됨에 따라, Metis는 구체적으로 어떤 단계에 발전하고 있습니까? Metis는 9월에 공개 테스트넷을 출시하고, 10월에 메인넷을 출시할 계획입니다.
Layer 2 경쟁 구도는 빠르게 진화하고 있습니다. Uniswap v3는 OE에서 출시되었으며, Arbitrum에 배포될 예정입니다. 7월 하순 이후, 경험이 풍부한 DeFi 프로젝트 Synthetix는 OE에서 출시되었습니다.
Arbitrum은 "400개 이상의 프로젝트에 메인넷 접근 권한을 부여했으며, 그 중 수십 개가 성공적으로 배포를 완료했다"고 밝혔습니다.
Optimism과 Arbitrum이 애플리케이션 채택에서 선두를 차지함에 따라, Metis는 메인넷 출시 후 신속하게 생태계를 채워야 합니다. Uniswap v2의 포크인 MetisSwap은 Metis의 테스트넷에서 이미 출시되었으며, WOWswap은 레버리지 토큰 거래 프로토콜을 추가하겠다고 약속했습니다.
각 새로운 네트워크는 금융 원주율이 필요하지만, Metis의 시장 존재감은 Optimism과 Arbitrum에서의 개발 활동과는 거리가 멉니다.
Metis는 생태계 개발 계획을 통해 애플리케이션 생태계를 자극할 계획입니다. 개발자는 진행 중인 작업 프로젝트, 성숙한 커뮤니티 또는 훌륭한 아이디어와 팀을 가지고 있어야 생태계 자금을 받을 수 있습니다.
Metis는 VC, 기술 지원, 시장 및 커뮤니티 구축을 연결하고, 성공적인 신청자에게 METIS 토큰 보상을 제공합니다.
8. 로드맵
Polis 미들웨어 도구의 지속적인 발전과 함께, Metis는 생태계 발전을 위한 인센티브에 집중하여 최종적으로 10월에 메인넷을 출시할 계획입니다.
Metis는 Trustee Wallet, OroPocket OpenDeFi, PARSIQ, PAID Network 등과 같은 DeFi, 인프라 및 토큰 런치패드 파트너와 관계를 구축했습니다.
9. 치열한 경쟁 속에서의 어려움
네트워크 효과는 온체인 거래량의 주요 추진력이며, Optimism과 Arbitrum과 같은 잘 알려진 경쟁자들, 그리고 Solana와 Terra와 같은 지속적으로 발전하는 생태계를 가진 Layer 1은 이미 대형 DeFi 및 메타버스 프로젝트가 그 위에 구축되거나 진행 중입니다.
ZK Rollups는 초기 DApp 특정 솔루션(예: Loopring 및 dYdX)에서 빠르게 진화하고 있습니다. Immutable X는 두 번째 게임을 지원할 계획이며, 메타버스 생태계의 목표를 향해 나아가고 있습니다. zkSync와 StarkWare는 테스트넷에서 EVM과 호환되는 ZK-Rollups를 이미 구현했습니다.
경쟁은 이제 막 시작되었으며, Metis는 제안된 다기능성과 UX 개선을 통해 Optimistic Rollup 경험을 개선해야 합니다. Metis가 토큰 인센티브 프로그램을 통해 애플리케이션 생태계를 성공적으로 육성할 수 있다면, 이는 layer 2 프로젝트의 생존에 필수적인 네트워크 효과를 생성할 수 있습니다.
개발자와 사용자가 web2에서 web3로의 전환을 이미 진행 중이며, 앞으로 가속화될 것이며, 시장은 각 프로젝트를 수용할 만큼 충분히 클 수 있습니다.
하지만 가장 가까운 경쟁자와 충분한 거리를 두는 프로젝트와 인프라가 인터넷의 다음 최전선에서 선두주자가 될 것입니다.
















